时间:2023-04-01 10:39
人气:
作者:admin
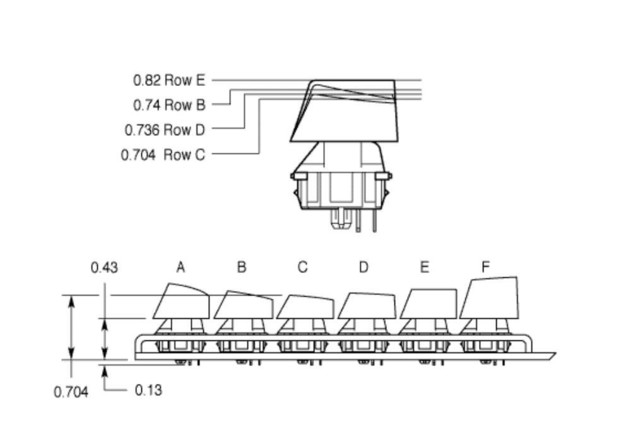
键盘键帽的学问有很多,上篇文章中,笔者和大家聊了键帽的材质和耐油污的问题。除此之外,键帽的高度和字符的印刷方式也有不同,对于多数机械键盘来说,会发现每一列键帽的倾斜角度都略有不同,使用起来可以减少手部的负担。与之相对,薄膜键盘的侧面则都是平的,只有极少数会像机械键盘一样有高度设计。


从键盘的上方数到下方总共会有6列,倾斜角度由上而下通常为R4、R4、R3、R2、R1、R1,将有些键帽翻过来看就会看到这些注记。至于还有一种更高的R5高度,这在目前键盘中算是极少见。另外,有些玩家对于键盘倾斜高度的说法是反过来叙述,由上而下变成R1、R1、R2、R3、R4、R4,虽然数字不同,但代表的意义并无不同。

常见键帽高度按从高到低的顺序排列为OEM(代工厂)-SP-Cherry(原厂);球帽分为SA-DSA。简单分辨的话。普通键帽除了Cherry和GMK制作的键帽以外,几乎全部都是OEM高度。

SP是一家美国键帽生产厂,全称为Signature Plastics。SP生产的键帽具有多种专有高度,因此SP的高度也自成一派。


球帽SA和DSA高度比较容易分辨SA高度从侧面看没有明显的人体工程学曲线;DSA则有符合人体工程学的曲线。总得来说,除了SA和DSA在使用上有明显区别,其余高度在成套使用时并不会有明显区别。
相信现在大家已经对键盘键帽的学问有了一定的了解,键盘的键帽是很多DIY玩家发烧的组件之一,可见其可完成度之高,目前来说不少机械键盘成品也开始往DIY模块化方向发展,因此了解一下它们的基础知识也是很有必要的。

HyperX 起源 RGB游戏机械键盘
[经销商]京东商城
[产品售价]¥409元
下一篇:键帽标识符技术有哪些?
罗技 G304 2.4G LIGHTSPEED 无线鼠标 黑卢锡安